Siga o Olhar Digital no Google Discover
A Tesla registrou uma nova patente para incluir receptores de satélite diretamente nos carros da marca. Seria uma espécie de antena móvel, que poderia conectar os modelos aos satélites da Starlink.
A medida foi a solução encontrada para driblar as interferências de sinal de internet devido ao material de construção dos próprios veículos.

Tesla quer antenas no teto dos carros
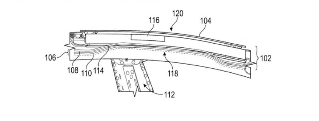
A patente foi descoberta pelo site Electrek. Intitulada “Conjunto de teto de veículo com material transparente à radiofrequência”, ela descreve uma estrutura de teto projetada para permitir a passagem de sinais de satélite da Starlink.
Isso porque os tetos de vidro e metal tradicional dos carros frequentemente bloqueiam os sinais de internet. A alternativa da Tesla é usar misturas específicas de polímeros (como policarbonato ou acrilonitrila estireno acrilato) que são “transparentes à radiofrequência (RF)”.
Segundo a montadora no pedido de patente, essa combinação permite a integração de antenas diretamente no telhado dos carros, facilitando a comunicação com satélites e outros dispositivos.

Tesla não menciona Starlink diretamente
Os carros da Tesla dependem fortemente de conexão internet, incluindo para viabilizar o sistema Autopilot – o piloto automático, que é um dos grandes diferenciais da marca.
O pedido de patente não menciona a Starlink diretamente. No entanto, as duas são de propriedade de Elon Musk, que costuma promover a integração entre seus serviços. Na prática, a antena no teto dos veículos tornaria mais fácil de se conectar com os satélites de internet da empresa, capazes de fornecer conexão 5G e garantir que o carro esteja sempre online mesmo em locais com baixa cobertura.

Leia mais:
- Waymo avança, Tesla testa e robôs-táxi entram na rotina das grandes cidades
- Tesla começa a testar robôs-táxi sem monitores humanos em Austin
- Conselho da Tesla embolsa mais de US$ 3 bilhões com ações da empresa
Califórnia acusa Tesla de propaganda enganosa sobre ‘piloto automático’
A Tesla voltou ao centro do debate sobre carros autônomos na Califórnia:
- O Departamento de Veículos Motorizados do estado (California DMV) concluiu que a empresa violou a lei ao usar termos como “Autopilot” e “Full Self-Driving” de forma enganosa em seu marketing;
- Para o órgão regulador, os nomes sugerem capacidades de direção autônoma que os veículos da Tesla não oferecem;
- A decisão segue o entendimento de um juiz administrativo e coloca a montadora sob pressão. Se a Tesla não ajustar a forma como descreve seus sistemas de assistência ao motorista, pode sofrer uma suspensão temporária da licença de vendas na Califórnia, seu maior mercado nos Estados Unidos.
Veja os detalhes neste link.